規范作業人員操作此儀器的正確性使用,確保測試的準確性及作好儀器的保養維護。
2.范圍
HR-150A型洛氏硬度計適用于硬質合金、碳鋼、合金鋼、鑄鐵、有色金屬等材料的洛氏硬度檢測。
3.定義
硬度是材料抵抗彈性變形,塑性變形或破壞的能力。對于以壓入法進行的硬度試驗,硬度是物質抵抗另一較堅硬的具有一定形狀和尺寸的物體壓入其表面的能力。
4.主要技術參數
測量范圍:20-88HRA,20-100HRB,20-70HRC
試 驗 力:588.4、980.7、1471N(60、100、150Kgf)
指示器刻度: C:0-100 B:30-130
試件最大高度: 加絲桿保護套時為100㎜
不加絲桿保護套時為170㎜
壓痕中心至機壁距離:135㎜
硬度分辨率:0.5HR
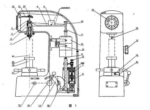
5. 操作使用方法
5.1 試驗前的準備工作
5.1.1 調整主試驗力的施加速度:手柄(16)置于卸荷位置,手把(13)轉到1471N的位置,將35-55HRC的標準硬度塊放在工作臺上,旋轉手輪(27)使硬度塊頂起主軸,加上初試驗力,拉動手柄(16)加主試驗力,觀察指示表大指針,從開始旋轉到停止的時間應在4-8秒范圍內。如不符合,轉動油針(14)進行調整,反復進行,至到合適為止。
5.1.2 試驗力的選擇:根據需要(參考圖二)選擇試驗力,轉動手把(13)使所選用的試驗力數值對準紅點。但必須注意,變換試驗力時,手柄(16)必須置于卸荷狀態(后極限位置)。
5.1.3 安裝壓頭:根據使用范圍選擇適當壓頭。安裝壓頭時,應注意消除壓頭與主軸(1)端面的間隙。消除方法是:裝上壓頭并用螺釘(28)輕輕固定,然后將標準塊或試件放置于工作臺上,旋轉手輪(27)加上初試驗力,拉動手柄(16)使主試驗力加于壓頭上,再將螺釘(28)擰緊,即可消除壓頭與主軸端面間的間隙。
5.1.4 試件的制備與選擇:試件應具有一定得大小和厚度,應能保證相鄰壓痕中心間與壓痕中心至試件邊緣的距離大于3毫米,試件最小厚度不應小于壓痕深度的8倍。試驗后,試樣的支撐面上不得有明顯的變形痕跡,其最小厚度取決于材質及所采用的負荷,可參考以下試樣最小厚度表。
試樣最小厚度表
標尺 硬度值HR 最小厚度(㎜) 標尺 硬度值HR 最小厚度(㎜)
A 70 0.7 B 80 1.0
80 0.5 90 0.8
90 0.4 100 0.7
B 25 2.0 C 20 1.5
30 1.9 30 1.3
40 1.7 40 1.2
50 1.5 50 1.0
60 1.3 60 0.8
70 1.2 67 0.7
試樣一般為平面,如果對曲面試樣進行試驗,而其曲率半徑不大時,則試驗結果應進行示值修正。對凸面試樣,應當加上修正量,對凹面試樣應當減去修正量。具體可參考圓柱試樣的修正量表。
試樣的安裝,必須保證所施加的試驗力垂直于試驗面。對于彎曲形狀及其他不規則形狀的試樣,必須采用相應類型的專用工作臺,并選擇正確的試驗位置。例如對圓柱試樣,必須采用“V”形工作臺。
5.2.試驗步驟
5.2.1 絲桿(26)頂面及被選用工作臺上下端面擦干凈,將工作臺置于絲桿(26)上端面上。
5.2.2試件支撐面擦干凈,放置于工作臺上,旋轉手輪(27)使工作臺緩緩上升,并頂起壓頭,到指示器的小指針指著紅點,大指針旋轉三圈垂直向上為止(允許誤差±5個刻度,若超過5個刻度,此點作廢,重新試驗)。注意:工作臺上升時,絕對不允許有后退現象,否則重新開始。
5.2.3 旋轉指示器(24)外殼,使C、B之間長刻線與大指針對正(順時針或逆時針旋轉均可)。
5.2.4拉動加荷手柄(16),施加主試驗力,這時指示器的大指示器的大指針按逆時針方向轉動。
5.2.5 當指示器指針的轉動顯著停下來后,保持5秒鐘時間后,即可將卸荷手柄(16)以2-3秒時間推回,卸除主試驗力。注意:主試驗力的施加與卸除,均需在緩慢無沖擊狀態下進行。
5.2.6 立即從指示器上相應的標尺讀數,采用金剛石壓頭試驗時,按表盤外圈的黑體數讀值,采用球壓頭試驗時,按表盤內圈的紅體數讀值。
5.2.7 轉動手輪使試件下降,再移動試件,按以上方法過程進行新的試驗。
注意: a試件一定要緊貼工作臺面移動;
b須保證相鄰壓痕中心之間及中心至邊緣的距離大于3㎜;
c通常情況下第一點試驗只是用來抵消各支撐面間隙,試驗結果不計,應當從第二點統計試驗結
果。
5.2.8 絲桿保護套(30)是為了保護絲桿(26)不受灰塵侵襲而設制的。硬度計不使用時或試件高度小于100㎜時,將其套在絲桿外面。當試件高度大于100毫米時,必須將其拿掉,以免將工作臺頂起,使試驗無效。
6. 維護、保養、調校與注意事項
6.1 洛氏硬度計應當在25±10℃,清潔無振動的環境中使用。
6.2 硬度計長時間不用時,應用防塵罩將機器蓋好。
6.3 定期在絲桿(26)與手輪(27)的接觸面注入少量機油。
6.4 如發現硬度計示值誤差偏大,可做如下檢查:
1)拿下工作臺檢查其與絲桿接觸面是否清潔;
2)檢查絲桿保護套是否頂起工作臺面;
3)檢查壓頭是否損壞。
6.5 若施加主試驗力時,指示器指針開始轉動很快,然后緩慢轉動,說明緩沖器內機油過少,此時可掀起緩沖器(7)上端的氈墊,慢慢地注入清潔的20#機油,同時多次拉推手柄(16),使活塞上下多次移動,將緩沖器內空氣全部排除,直到活塞沉到底時有油溢出為止。注意:由于受溫度影響油缸中機油容易產生稀稠變化,從而影響加荷速度,應視情況及時調整油針(14)使之達到使用要求。
6.6 用本機配帶標準硬度塊定期檢查硬度計示值精度。
6.6.1將工作臺及標準塊擦凈,在硬度塊工作表面進行試驗,絕不允許在支撐面上試驗。
6.6.2若示值誤差較大,除按本節6.4檢查外,還應檢查標準硬度塊支撐面是否有毛刺,若有毛刺應用油石打光。
6.6.3在標準塊不同位置試驗時,硬度塊應緊貼工作臺面拖動,嚴禁拿離工作臺。
6.6.4硬度計的示值調整:若通過以上工作,硬度計示值誤差仍然較大,可通過調整調整板(22)的前后位置,以達到示值精度要求。方法是:松開調整板(22)的上前后兩個M3螺絲,前后移動調整板(22)位置即可。注意向指示器方向移動時,示值增大,反之示值減少。調整結束后應固定緊已經松開的兩個M3螺絲。如調整后發現指示器指針不豎直向上,可松開調整板中間的M3螺絲上的背冒,旋轉此螺絲即可使指針達到要求。
6.6.5當硬度計出現非正常現象時,請勿自行拆卸固定裝配的零配件;請告知相關部門及領導,及時通知廠商維修保養。
7.洛氏硬度計實物圖片及圖表

洛氏硬度計使用范圍

洛氏硬
度標尺 硬度符號 壓頭類型 初試驗力F0(公斤) 主試驗力F1(公斤) 總試驗力F(公斤) 常數K 適用范圍 應用舉例
A HRA 金剛石圓錐壓頭 10 50 60 100 20-88HRA 硬金屬及硬質合金
B HRB 直徑1.5875mm球壓頭 10 90 100 130 20-100HRB 有色金屬及軟金屬
C HRC 金剛石圓錐壓頭 10 140 150 100 20-70HRC 熱處理結構鋼、工具剛
D HRD 金剛石圓錐壓頭 10 90 100 100 40-77HRD 表面淬火鋼薄鋼
F HRF 直徑1.5875mm球壓頭 10 50 60 130 60-100HRF 有色金屬
G HRG 直徑1.5875mm球壓頭 10 140 150 130 30-94HRG 珠光體鐵、銅鎳、鋅合金
圖表二
A標尺:適用于測定硬度超過70HRC的金屬,如碳化鎢、硬質合金,也可以測定硬的薄板材料及表面層淬硬的材料。
B標尺:用于測定有色金屬及其合金,退火鋼或未經淬硬的鋼制品等較軟或中等硬度材料。
C標尺:用于測定碳鋼、工具鋼及合金鋼等經過熱處理的鋼制品材料的硬度。
8.洛氏硬度測量方法與原理
洛氏硬度測量實際測量的是壓痕深度,將在規定的試驗條件下所測得的壓痕深度換算為
硬度單位。其作用原理見下圖:
(1)首先加載初試驗力F0,將壓頭(金剛石圓錐壓頭或球壓頭)壓入試件表面,計初
始位移h0
(2)然后加載主試驗力F1,保持一定時間,此時壓頭位移為h1,之后卸除主試驗力F1
(3)保持初試驗力F0,測量此刻的壓頭位移h2
(4)按下述公式,計算出洛氏硬度值(式中位移單位為mm)
